Shacman F2000&F3000 Oil Cooler Cover
Shacman F2000&F3000 Oil Cooler Cover
2024-04-11
Shacman F2000&F3000 Fuel Injection Pipe
Shacman F2000&F3000 Fuel Injection Pipe
2024-04-11

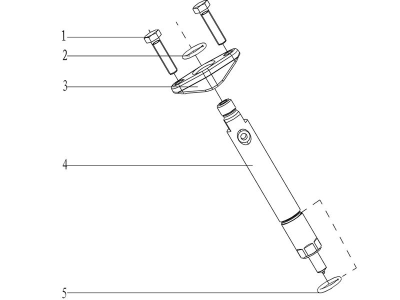
Shacman F2000&F3000 A Combined Injector

  • The Shacman F2000&F3000 A Combined Injector is a crucial component engineered to deliver efficient fuel injection and optimal engine performance. Crafted with precision and durability in mind, it is designed to withstand the demanding conditions of heavy-duty applications.
  • Key elements of this injector include Hexagon screws and Washers, ensuring secure fastening and reliable operation. The fuel injector clamp provides stable positioning for the injectors, while the Injectors themselves deliver precise fuel delivery to the engine cylinders, promoting smooth combustion and enhanced power output.
Shacman F2000&F3000 A Combined Injector

Product Parameters of Shacman F2000&F3000 A Combined Injector

  • Sealing rings are integrated into the design to prevent fuel leaks and maintain system integrity, ensuring efficient operation and reducing the risk of fuel-related issues. With its robust construction and meticulous attention to detail, the Shacman F2000&F3000 A Combined Injector meets the highest standards of quality and performance, making it an indispensable component for diesel engines in various industrial and commercial applications.
Pos.Teile.NumberAmountDesignation
161260008038312Hexagon screw
26126000819546Washer
361500080094A6fuel injector clamp
461560080305(300PS )6Injector
(4)61560080276(300PS )6Injector
56090700806Sealing ring

Hot Products of Shacman Truck Spare Parts

Chat with us
Chat with us
Questions, doubts, issues? We're here to help you!
Connecting...
Please leave your inquiry and your phone. We will give you feedback within 12 hours.
Our operators are busy. Please try again later
:
:
:
:
Have you got question? Write to us! Please leave your phone or what'sApp
:
:
This chat session has ended

Online Message

Send your inquiry / assessment to Us. Anything need us ,please don’t hesitate contact us here! we will keep it secret for you !