

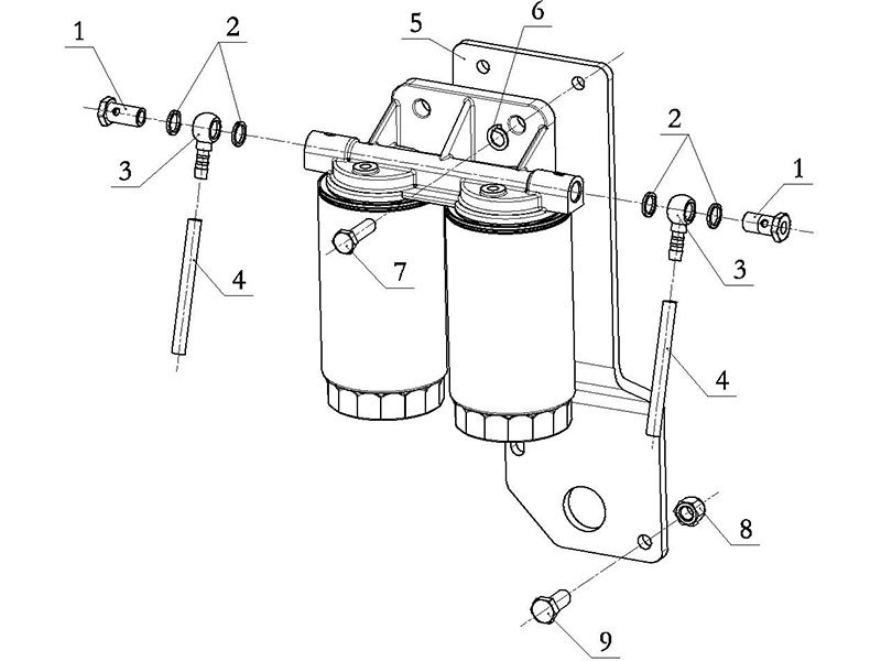
| NO | Part.No | Name | Quantity |
| 1 | 190003962621 | Hollow bolt | 2 |
| 2 | Q72314 | Seal washer | 4 |
| 3 | 199014230017 | Hose joint assembly | 2 |
| 4 | 190003179784 | Pipe | 2 |
| 5 | DZ91189550039 | Bracket | 1 |
| 6 | Q40312 | Spring washer | 2 |
| 7 | Q150B1220 | Hex screw | 2 |
| 8 | Q33210T2F3 | Locking nut | 2 |
| 9 | Q150B1035T1F3 | Hex screw | 2 |
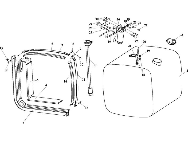
| NO | Part.No | Name | Quantity |
| 1 | SZ955000861 | Cover | 1 |
| 1 | 179200550023 | Cover | 1 |
| 2 | DZ91189550380 | Fuel Tank | 1 |
| 3 | 190003179030 | Protector | 2 |
| 4 | 81.12240.0003 | Drawstring | 2 |
| 5 | Q151C1225T1F3 | Hex screw | 1 |
| 6 | 190003888457 | Locking nut | 1 |
| 7 | Q150B1030T1F3 | Hex screw | 4 |
| 8 | Q40110 | Washer | 4 |
| 9 | DZ91189550396 | Nut | 2 |
| 10 | DZ91189552330 | Bracket | 2 |
| 11 | Q33210T2F3 | Locking nut | 4 |
| 12 | DZ91189553801 | Rear plate | 2 |
| 13 | DZ91189553801 | Rear plate | 2 |
| 14 | 190003888627 | Locking nut | 4 |
| 15 | Q5101265 | Shaft | 2 |
| 16 | Q5004020 | Cotter pin | 2 |
| 17 | Q151B1660TF3 | Hex screw | 4 |
| 18 | DZ91189552702 | Protector | 2 |
| 19 | DZ91189553820 | Fasteming strap assembly | 2 |
| 20 | DZ93259551131 | Sensor | 1 |
| 21 | Q151B1435T1F3 | Hex screw | 2 |
| 22 | DZ92189550022 | Bracket assembly | 1 |
| 22 | DZ95189550032 | Bracket assembly | 1 |
| 22 | SZ956000722 | Bracket assembly | 1 |
| 23 | 190003888458 | Locking nut | 2 |
| 24 | 190003888457 | Locking nut | 2 |
| NO | Part.No |
Name | Quantity |
| 25 | DZ91189550126 | Fuel coarse filter assembly | 1 |
| 25 | DZ91189550130 | Fuel coarse filter assembly | 1 |
| 26 | Q72314 | Seal washer | 4 |
| 26 | Q72316 | Seal washer | 4 |
| 27 | 190003962621 | Hollow bolt | 2 |
| 27 | 190003962627 | Hollow bolt | 2 |
| 28 | 199014230017 | Hose joint | 2 |
| 28 | DZ9114550043 | Hose joint | 2 |
| 29 | 190003179784 | Pipe | 1 |
| 29 | DZ91189557000 | Pipe | 1 |
| 30 | Q151C1245T1F3 | Hex screw | 2 |
| 31 | 190003179784 | Pipe | 1 |
| 31 | DZ91189557000 | Pipe | 1 |
Shacman is mainly engaged in a full range of commercial vehicles such as heavy military off-road vehicles, heavy trucks, medium and light trucks, mini vehicles, refrigerated vehicles, and sweepers. We are a supplier focusing on Shacman heavy trucks.
{Shacman Spare Parts}
Contact us now!
High Quality Shacman Parts Supply:Spare Parts for Shacman X3000,X5000,X6000,F3000,M3000,H3000,L3000
WhatsApp Us
🟢 Online | Privacy policy
WhatsApp us
Send your inquiry / assessment to Us. Anything need us ,please don’t hesitate contact us here! we will keep it secret for you !