

With attention to detail and quality craftsmanship, Shacman delivers a junction box solution that meets the highest standards of performance and durability.
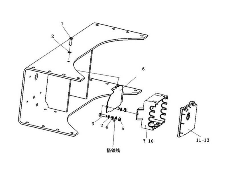
| NO | Part.No | Name | Quantity |
| 1 | Q2712965 | Self tapping screw | 3 |
| 2 | Q41208 | Lock washer | 4 |
| 3 | Q150B0830 | Hexagon head bolts | 3 |
| 4 | Q40308 | Spring washer | 2 |
| 5 | Q340B08 | 1 type Hexagon head | 3 |
| bolts | |||
| 6 | DZ9100770393 | Junction box holder | 1 |
| 7 | DZ91189777021 | Junction box body | 1 |
| 8 | 179100770391 | Junction box | 1 |
| 9 | 190003179811 | Hose | 0.1 metre |
| 10 | 179100770395 | Wire sheath | 4 |
| 11 | 179100770394 | Junction box cover The | 1 |
| 12 | DZ9100770079 | circular strip Self tapping | 1 |
| 13 | Q2713525 | screw | 4 |
Shacman is mainly engaged in a full range of commercial vehicles such as heavy military off-road vehicles, heavy trucks, medium and light trucks, mini vehicles, refrigerated vehicles, and sweepers. We are a supplier focusing on Shacman heavy trucks.
{Shacman Spare Parts}
Contact us now!
High Quality Shacman Parts Supply:Spare Parts for Shacman X3000,X5000,X6000,F3000,M3000,H3000,L3000
WhatsApp Us
🟢 Online | Privacy policy
WhatsApp us
Send your inquiry / assessment to Us. Anything need us ,please don’t hesitate contact us here! we will keep it secret for you !