

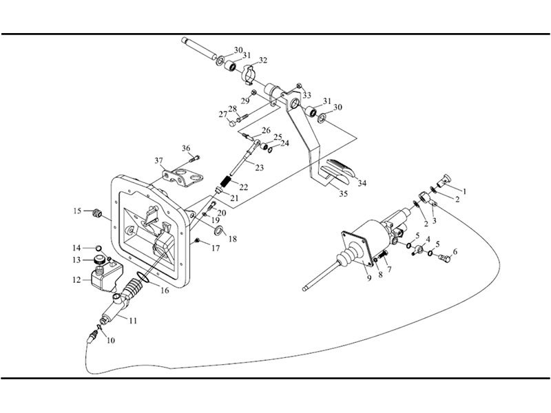
| NO | Part.No | Name | Quantity |
| 1 | 190003962621 | Hollow bolt | 1 |
| 2 | Q72314 T5F | Gasket | 2 |
| 3 | DZ93259230420 | Hose | 1 |
| 4 | 199100270119 | Hose plug | 1 |
| 5 | Q72316 T5F | Gasket | 2 |
| 6 | 190003962627 | Hollow bolt | 1 |
| 7 | Q150B1020 | Hex. Screw | 4 |
| 8 | Q40310 | Spring washer | 4 |
| 9 | DZ9112230178 | Operating cylinder | 1 |
| 10 | DZ9112230212 | Spring | 2 |
| 11 | DZ9114230022 | Clutch main cylinder | 1 |
| 12 | DZ9114230021 | Liquid container | 1 |
| 13 | DZ93189230010 | Lock cover assembly | 1 |
| 14 | 81.96410.0197 | Sealring | 1 |
| 15 | 81.96002.0130 | Plug | 2 |
| 16 | 06.56930.1973 | Toric seal | 1 |
| 17 | 81.96002.0384 | Plug | 1 |
| 18 | 06.29050.0116 | Lock washer | 1 |
| 19 | 06.15013.0411 | Washer | 2 |
| 20 | 06.01283.3113 | Hex. screw | 2 |
| 21 | 81.97680.0019 | Spring seat | 1 |
| 22 | 06.46081.6338 | Pressure spring | 1 |
| 23 | 81.91020.0686 | Tappet | 1 |
| 24 | 06.29050.0111 | Circlip | 1 |
| NO | Part.No | Name | Quantity |
| 25 | 06.33719.0018 | Needle bearing | 1 |
| 26 | 81.91020.0611 | Threadedpin | 1 |
| 27 | 81.96020.0369 | Rubber pad | 1 |
| 28 | 06.01283.3115 | Hex. screw | 1 |
| 29 | 06.11240.0406 | Hex lock nut | 1 |
| 30 | 06.15114.0418 | Adjusting washer | 2 |
| 31 | 06.33719.0005 | Needle bearing | 2 |
| 32 | 81.97640.0273 | Spring clamp | 3 |
| 33 | 06.11064.2114 | Hex. nut | 1 |
| 34 | 81.48227.0006 | Pedal covering | 1 |
| 35 | 81.48225.5119 | Clutch pedal assembly | 1 |
| 36 | 06.07069.0007 | Hex. lock screw | 2 |
| 37 | 81.48240.0327 | Sensor bracket | 1 |
| NO | Part.No | Name | Quantity |
| 1 | DZ9112230020 | Release arm | 1 |
| 2 | Q33210 | Nut | 6 |
| 3 | Q40314 | Spring washer | 2 |
| 4 | Q151B1435 | Hex. screw | 2 |
| 5 | DZ9112230029 | Bracket | 1 |
| 6 | DZ9112230166 | Operating cylinder | 1 |
| 7 | Q150B1045 | Hex. screw | 4 |
| 8 | Q72314 T5F | Gasket | 4 |
| 9 | 199100270118 | Hose plug | 1 |
| 10 | SXQ84310 | Hollow bolt | 2 |
| 11 | DZ93259230300 | Hose | 1 |
| 12 | DZ9112230212 | Spring | 2 |
| 13 | DZ9114230022 | Clutch main cylinder | 1 |
| 14 | DZ9114230021 | Ciquid container | 1 |
| 15 | 81.90310.6001 | Lock couer assembly | 1 |
| 16 | 81.96410.0197 | Seal ring | 1 |
| 17 | 81.96002.0131 | Plug | 2 |
| 18 | 06.56930.1973 | Toric seal | 1 |
| 19 | 81.96002.0384 | Plug | 1 |
| 20 | 06.29050.0116 | Lock washer | 1 |
| 21 | 06.15013.0411 | Washer | 2 |
| 22 | 06.01283.3113 | Hex. screw | 2 |
| 23 | 81.97680.0072 | Spring seat | 1 |
| 24 | 06.46080.0422 | Pressure spring | 1 |
| 25 | 81.91020.0686 | Tappet | 1 |
| NO | Part.No |
Name | Quantity |
| 26 | 06.29050.0111 | Circlip | 1 |
| 27 | 06.33719.0018 | Needle bearing | 1 |
| 28 | 81.91020.0611 | Threaded pin | 1 |
| 29 | 81.96020.0369 | Rubber pad | 1 |
| 30 | 06.01283.3115 | Hex. screw | 1 |
| 31 | 06.11240.0406 | Hex lock nut | 1 |
| 32 | 06.15114.0418 | Adjusting washer | 2 |
| 33 | 06.33719.0005 | Needle bearing | 2 |
| 34 | 81.97640.0273 | Spring clamp | 3 |
| 35 | 06.11064.2114 | Hex. nut | 1 |
| 36 | 81.48227.0006 | Pedal covering | 1 |
| 37 | 81.48225.5119 | Clutch pedal assembly | 1 |
| 38 | 06.07069.0007 | Hex. lock screw | 2 |
| 39 | 81.48240.0327 | Sensor bracket | 1 |
Shacman is mainly engaged in a full range of commercial vehicles such as heavy military off-road vehicles, heavy trucks, medium and light trucks, mini vehicles, refrigerated vehicles, and sweepers. We are a supplier focusing on Shacman heavy trucks.
{Shacman Spare Parts}
Contact us now!
High Quality Shacman Parts Supply:Spare Parts for Shacman X3000,X5000,X6000,F3000,M3000,H3000,L3000
WhatsApp Us
🟢 Online | Privacy policy
WhatsApp us
Send your inquiry / assessment to Us. Anything need us ,please don’t hesitate contact us here! we will keep it secret for you !