

The Shacman F3000 Chassis Electrical System for non-tractor trailers, specifically the 8×4 variant with model 4175/1000 and JACOB components, is engineered to deliver superior electrical connectivity and reliability. This advanced system is designed to enhance the operational efficiency and safety of the vehicle, ensuring seamless integration of all electrical components.
Frame Wiring Harness (K42/JACOB/8*4/New): A robust wiring harness that guarantees efficient electrical distribution across the frame.
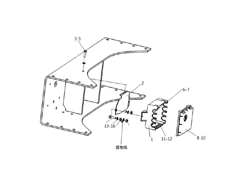
Fastening Strap with Spacer (7.6*375): Provides secure and adjustable mounting points for electrical components.
Isolation Block: Ensures proper electrical isolation and protection against short circuits.
Cab Lock Signal Switch Wire Harness: Facilitates secure and reliable signal transmission.
Threading Sheath: Protective covers for wiring to prevent damage and ensure longevity.
Plastic Fastening Tape: Secures and organizes wiring for a clean and clutter-free installation.
Hexagon Head Bolt, Large Washers, Hex Nuts Type 1: Standardized hardware for robust mechanical connections.
Inter-wheel and Inter-axle Differential Lock Harnesses: Critical for maintaining differential lock functionality.
Left and Right Combination Rear Lamp Wire: Ensures reliable rear lighting for safety and visibility.
Wire Threading Sheath: Additional protection for wiring.
Mounting Fastening Strap (9.5-10.0mm hole): Specific for secure mounting with precision holes.
Distribution Box Body and Bracket Assembly: Provides organized and efficient distribution of electrical signals.
Hexagon Head Bolts, Large Washers, Spring Washers: Standard hardware for secure connections.
Distribution Box: Centralizes and manages electrical distribution.
Cross Recessed Pan Head Tapping Screws, Polyvinyl Chloride Hose, Distribution Box Cover: Ensures secure and tamper-proof electrical management.
Round Seal, Wire Sheathing: Provides additional protection and insulation.
Solenoid Valve: Essential for various hydraulic and pneumatic functions.
Hexagon Head Bolts, Small Washers, Type 2 All-Metal Hexagonal Locknut: Standard hardware for secure solenoid valve mounting.
Solenoid Valve Bracket: Ensures proper placement and function of solenoid valves.
Pneumatic Signal Light Switch: Controls pneumatic signal lights for enhanced operational awareness.
| NO | Part.No | Designation | Quantity |
| 1 | DZ95319773435 | Frame Wiring Harness(K42/JACBO/8*4/New) | 1 |
| 2 | DZ93189777033 | Fastening strap with spacer(7.6*375) | 10 |
| 3 | DZ93189777034 | Isolation block | 10 |
| 4 | DZ95189774025 | Cab lock signal switch wire harness | 1 |
| 5 | DZ9100360278 | Threading sheath | 1 |
| 6 | DZ9100360279 | Threading sheath | 1 |
| 7 | 190003171392 | Plastic Fastening Tape | 40 |
| 8 | Q150B0818 | Hexagon Head Bolt | 1 |
| 9 | Q40208 | Large Washers | 2 |
| 10 | Q340B08 | Hex Nuts Type 1 | 1 |
| 11 | DZ9100776640 | Inter-wheel and inter-axle differential lock harnesses | 1 |
| 12 | DZ9100773130 | Left Combination Rear Lamp Wire | 1 |
| 13 | DZ9100773120 | Right Combination Rear Lamp Wire | 1 |
| 14 | DZ9100360285 | Wire Threading Sheath | 2 |
| 15 | DZ93189777031 | With mounting fastening strap (9.5-10.0mm hole) | 2 |
| NO | Part.No | Designation | Quantity |
| 1 | DZ91189777021 | Distribution box body | 1 |
| 2 | DZ9100770393 | Distribution Box Bracket Assembly | 1 |
| 3 | Q150B0830 | Hexagon head bolts | 1 |
| 4 | Q40208 | Large Washers | 1 |
| 5 | Q40308 | Spring Washers | 1 |
| 6 | 179100770391 | Distribution box | 1 |
| 7 | Q2712965 | Cross recessed pan head tapping screws | 3 |
| 8 | 190003179811 | Polyvinyl chloride hose | 0.001 |
| 9 | 179100770394 | Distribution box cover | 1 |
| 10 | DZ9100770079 | Round Seal | 1 |
| 11 | 179100770395 | Wire Sheathing | 4 |
| 12 | Q2713525 | Cross recessed pan head tapping screws | 4 |
| 13 | Q150B0630Q | Hexagon head bolts | 2 |
| 14 | Q40106 | Flat washers | 2 |
| 15 | Q40306 | Spring washers | 2 |
| 16 | Q340B06 | Hexagon nuts type 1 | 2 |
| NO | Part.No | Designation | Quantity |
| 1 | 81.52160.6115 | Solenoid Valve | 2 |
| 2 | Q150B08110 | Hexagon head bolts | 2 |
| 3 | Q40008 | Small washers | 2 |
| 4 | Q33208 | Type 2 all-metal hexagonal locknut | 2 |
| 5 | DZ93189711111 | Solenoid valve bracket | 1 |
| 6 | Q150B0810 | Hexagon head bolts | 2 |
| 7 | Q40008 | Small washers | 2 |
| 8 | Q33208 | All-metal hex lock nut type 2 | 2 |
| NO | Part.No | Designation | Quantity |
| 1 | 179100710004 | Pneumatic signal light switch | 1 |
Shacman is mainly engaged in a full range of commercial vehicles such as heavy military off-road vehicles, heavy trucks, medium and light trucks, mini vehicles, refrigerated vehicles, and sweepers. We are a supplier focusing on Shacman heavy trucks.
{Shacman Spare Parts}
Contact us now!
High Quality Shacman Parts Supply:Spare Parts for Shacman X3000,X5000,X6000,F3000,M3000,H3000,L3000
WhatsApp Us
🟢 Online | Privacy policy
WhatsApp us
Send your inquiry / assessment to Us. Anything need us ,please don’t hesitate contact us here! we will keep it secret for you !