

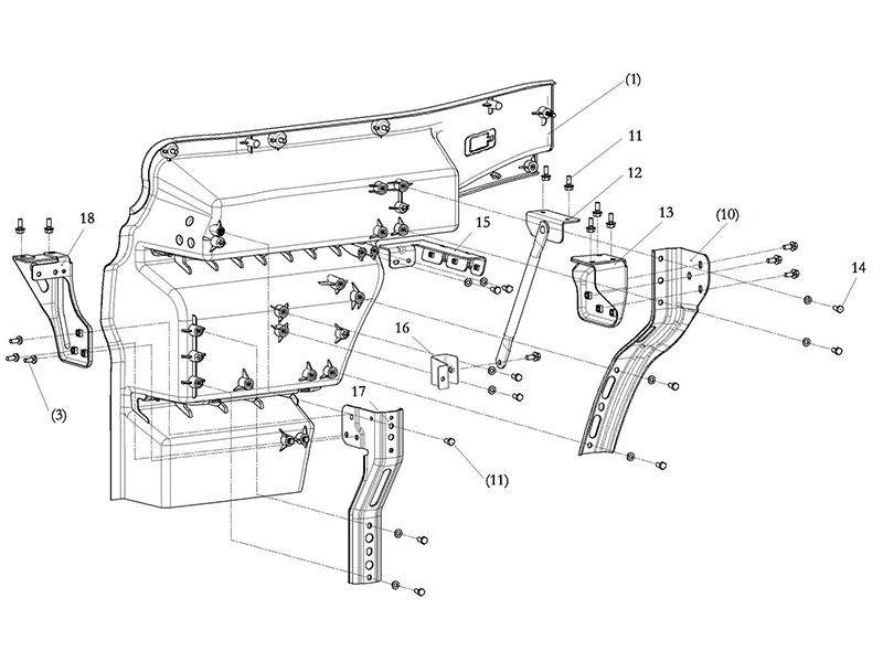
The Shacman X6000 Cabin Step Assembly (RH) is engineered to enhance accessibility and safety for all vehicle occupants. This essential component is designed with a focus on durability and efficiency, ensuring ease of entry and exit.


| NO | Part.No | Name | Quantity |
| 1 | DZ16251240012 | Cabin step_RH | 1 |
| 2 | DZ16251240050 | Blockages 1 | 3 |
| 3 | Q2140820 | Screw | 6 |
| 4 | Q401B08 | Washer | 14 |
| 5 | DZ16251240049 | Blockages | 3 |
| 6 | Q2300616 | Screw and washer | 5 |
| 7 | DZ16251240047 | Stepmat 4th-LH | 1 |
| 8 | DZ16251870083 | Spring nut | 5 |
| 9 | DZ16251240043 | Stepmat 2nd-LH | 1 |
| 10 | DZ16251240072 | Rear step bracket-LH | 1 |
| 11 | Q1860820 | Hexagon flange bolt | 11 |
| 12 | DZ16251240064 | Middle step bracket assy | 1 |
| 13 | DZ16251240084 | Rear step bracket assy-RH | 1 |
| 14 | Q150B0816 | Hexagon bolt | 11 |
| 15 | DZ16251240086 | Fender bracket assy-RH | 1 |
| 16 | DZ16251240080 | Connecting bracket assy-RH | 1 |
| 17 | DZ16251240082 | Front step bracket assy-RH | 1 |
| 18 | DZ16251240062 | Front step bracket-RH | 1 |
Shacman is mainly engaged in a full range of commercial vehicles such as heavy military off-road vehicles, heavy trucks, medium and light trucks, mini vehicles, refrigerated vehicles, and sweepers. We are a supplier focusing on Shacman heavy trucks.
{Shacman Spare Parts}
Contact us now!
High Quality Shacman Parts Supply:Spare Parts for Shacman X3000,X5000,X6000,F3000,M3000,H3000,L3000
WhatsApp Us
🟢 Online | Privacy policy
WhatsApp us
Send your inquiry / assessment to Us. Anything need us ,please don’t hesitate contact us here! we will keep it secret for you !